| Sign In | Join Free | My wneducation.com |
|
Brand Name : JINMA
Model Number : CTF/2CTF Permanent Magnet Dry Magnetic Separator
Certification : ISO9001
Place of Origin : China
MOQ : 1
Payment Terms : T/T, L/C
Delivery Time : 5-8 days
Packaging Details : standard package shipping
Type : CTF/2CTF
Name : CTF/2CTF Permanent Magnet Iso Dry Magnetic Separator For Mines Magnetite
Purpose : Mines
Origin : China
Keyword : Permanent Magnet Iso Dry Magnetic Separator
CTF/2CTF Permanent Magnet Iso Dry Magnetic Separator For Mines Magnetite
Application Scope
Features
| Name | CTF/2CTF Permanent Magnet Iso Dry Magnetic Separator For Mines Magnetite |
| Model | Dry Magnetic Separator |
| Purpose | Mines Magnetite |
Structure

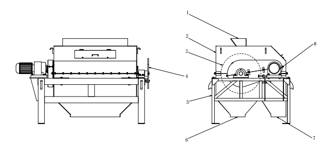
Structure sketch of CTF type dry MS
1-Feed inlet 2- Chamber 3- Magnetic drum 4- Magnetic system adjusting wheel 5-Frame
6-Magnetic material outlet 7- Nonmagnetic material outlet 8- Reducer
Technical Parameters
| Type | CTF1024 | CTF1030 | 2CTF1030 | CTF1230 | CTF1240 |
| (mm) Drum diameter |
Φ1000 |
Φ1000 |
Φ1000 |
Φ1200 |
Φ1200 |
| (mm) Drum length |
2400 |
3000 |
3000 |
3000 |
4000 |
| (mm) Feeding size |
0~20 |
0~20 |
0~20 |
0~20 |
0~20 |
| (t/h) Capacity |
~210 |
~260 |
~450 |
~350 |
~500 |
| (mT) Magnetic field intensity |
100~600 |
100~600 |
100~600 |
100~600 |
100~600 |
| (kW) Motor power |
22 |
22 |
75+45 |
45 |
55 |
| (rpm) Rotating speed |
0~60 |
0~60 |
0~80 |
0~80 |
0~80 |
| (mm) Overall size |
4330×2000×2055 |
4930×2000×2150 |
4930×2300×3724 |
4930×2000×2450 |
5600×4200×3000 |
| (kg) Weight |
5600 |
6400 |
17000 |
8100 |
12500 |
On-site Applications

Alashan application site in Inner Mongolia Application site in Zhangjiakou, Hebei Application site in Chengde, Hebei

Application site in Chengde, Hebei Application site in Jinchang, Gansu Application site in Baoding, Hebei
Comapny introduction
Tangshan Mine Machinery Factory is a specialized manufacturer that produces complete sets of equipment for metallurgy, mining, building materials, environmental protection, as well as the design and manufacture of complete sets of sand and gravel materials, and the design and manufacture of dry tailings discharge. The company was founded in 1971 and turned into a joint-stock enterprise in 1997.
The company occupies more than 50 acres, with total assets of 90 million yuan and more than 200 employees, including 96 engineering and technical personnel.
Various processing and testing equipment: 8 meters, 5 meters, 4 meters vertical lathes, 8 meters, 5 meters, 3.15 meters gear hobbing machine, 6 meters planer, precision boring machine, medium frequency quenching and other larger processing equipment and automatic welding, ultrasonic welding More than 300 sets of flaw detectors, W15-23 material testing machines, aging vibration devices, etc.
The main products are: various models and specifications of Jinma brand crushers, ball mills, classifiers, magnetic separators, dewatering screens, linear screens, screening machines, feeders, vertical roller mills, etc.
Among them, 17 products have obtained national patents. Among them, the crusher and ball mill have won many national honors.
The products are sold all over the country and exported to Russia, Mongolia, South Korea, Chile and other international markets.
We are a member of the China Heavy Machinery Association, a member of the Crushing and Grinding Association, a member of the Mining Machinery Association, and a member of the China Building Materials Machinery Association. We have participated in the formulation of a number of equipment manufacturing standards.
The company's principles are: First-class talents, First-class management, First-class machine, First-class quality, First-class honor.
Sincerely hope to reach friendly cooperation with you.
FAQ
Q1: Hi, are you a mining machinery manufacturer?
Answer: Yes, we are a professional manufacturer of mining machine. Our company welcomes customers to visit our factory at any time.
Q2: How long is the warranty period of your equipment? Does your company provide spare parts?
Answer: The warranty period of our machine is one year. For those wearing parts, we guarantee to provide high-quality parts for a long time.
Q3: How long does it take to deliver?
Answer: Production usually starts after receiving the advance payment. Small machine is guaranteed to be delivered within one month. Large-scale machine is guaranteed to be delivered within 2-3 months.
Q4: Do you provide machine operation guidance?
Answer: Yes. We have professional engineers for installation, commissioning and operation guidance.
|
|
CTF/2CTF Permanent Magnet Iso Dry Magnetic Separator For Mines Magnetite Images |